Гайки шестигранные особо высокие ГОСТ 5931-70, класс точности А
Продажа и поставка гаек по всей России и странам СНГ. Постоянным клиентам скидка! Под заказ! Звоните!
Продажа и поставка гаек по всей России и странам СНГ. Постоянным клиентам скидка! Под заказ! Звоните!
Гайка ГОСТ 5931-70
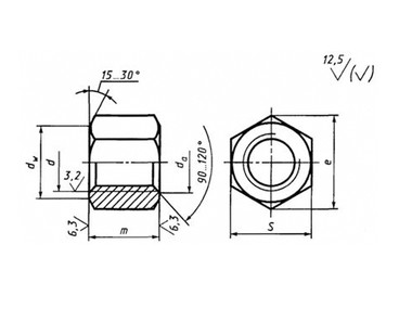
Класс точности: А.
Поле допуска резьбы: 6H.
Марка стали: 3, 20, 35, 45, 40Х, 09Г2С, 12Х13.
Класс прочности: 4; 5; 6; 8; 10; 12.
Гайка - вид крепежа шестигранной формы. Внутри соединительной гайки находится резьба. Для ее закрепления в конструкции применяется гаечный ключ.
Узнать стоимость товара on-line
Гайки шестигранные особо высокие - довольно востребованные изделия. Они входят в категорию крепежа, который предназначен для защиты резьбы от повышенного износа. Также они помогают не допустить повреждения соединения во время больших нагрузок на него. Кроме того, гайки высокие имеют повышенную стойкость к износу в условиях частого завинчивания или отвинчивания.
|
Параметры гайки |
Номинальный диаметр резьбы d |
||||||||||||||
|---|---|---|---|---|---|---|---|---|---|---|---|---|---|---|---|
|
М8 |
М10 |
М12 |
М16 |
М18 |
М20 |
М20 |
М22 |
M24 |
M27 |
М30 |
М36 |
М42 |
М48 |
||
|
Шаг резьбы, P |
крупный |
1,25 |
1,5 |
1,75 |
2 | 2 |
2,5 |
2,5 |
2,5 |
3 |
3 |
3,5 |
4 |
4,5 |
5 |
|
мелкий |
1 | 1,25 | 1,25 | 1,5 | 1,5 |
1,5 |
1,5 | 1,5 | 2 | 2 | 2 | 3 | 3 | 3 | |
| da |
минимум |
8 | 10 | 12 | 14 | 16 | 18 | 20 | 22 | 24 | 27 | 30 | 36 | 42 | 48 |
|
максимум |
8,75 | 10,8 | 13 | 15,1 | 17,3 | 19,4 | 21,6 | 23,8 | 25,9 | 29,2 | 32,4 | 38,9 | 45,4 | 51,8 | |
|
Высота m, |
12 | 15 | 18 | 21 | 24 | 27 |
30 |
32 |
36 |
40 |
45 |
54 |
63 |
71 |
|
|
dw, не менее |
11,7 | 14,6 | 16,6 | 19,6 | 22,5 |
25,3 |
28,2 |
31,7 |
33,6 |
38,4 |
43,1 |
51,5 |
61 |
70,5 |
|
|
Размер под ключ, S |
13 | 17 | 19 | 22 | 24 | 27 | 30 | 32 |
36 |
41 |
46 |
55 |
65 |
75 |
|
|
Теоретическая масс 1000 шт. гаек, кг |
10 | 17 | 30 | 50 | 60 | 86 | 11,7 | 14,1 | 20,2 | 29,3 | 42,1 | 71,5 | 117,9 | 178,1 | |
Все параметры в таблице указаны в мм.
Эта продукция относится к классу точности А. Диаметр ее резьбы различный, начиная от 8 и заканчивая 48 мм. Благодаря большей высоте по сравнению со стандартным крепежом высокие гайки устойчивы к деформациям. Измерить высоту гайки можно вдоль резьбы, а также по ее оси. При этом гайки соединительные выполняются из разных видов стали, например, легированной, углеродистой или сплавов металлов.
Сфера применения этого вида крепежа включает строительную отрасль и машиностроение. При использовании соединительную гайку навинчивают на болт, часть вала или шпильку. Таким образом, происходит надежная фиксация деталей, например, шкивов и подшипников. Назначение гайки состоит в укреплении соединения в моменты наибольшей нагрузки. Для защиты материала от повреждения между его поверхностью и гайкой размещают шайбы большой площади.
оставьте нам свой номер телефона и мы перезвоним через 1 минуту