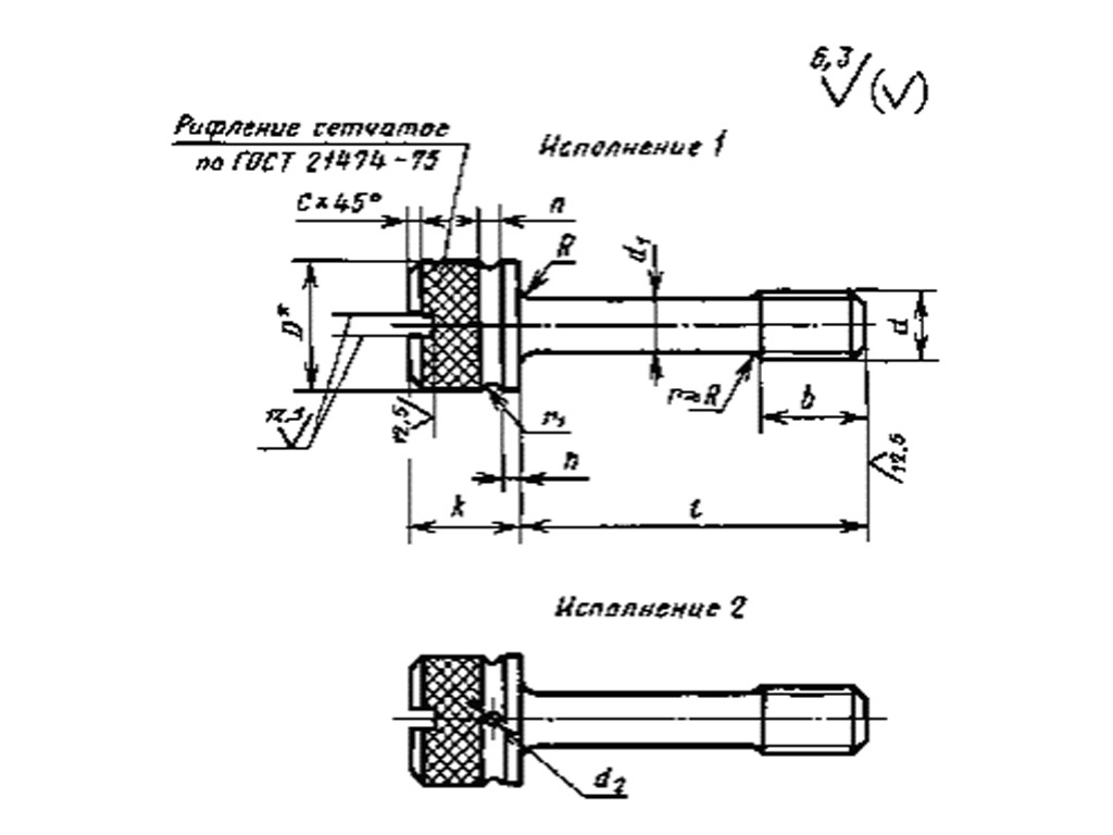
Винт с накатанной головкой, класс точности В ГОСТ10344-80
Продажа и поставка винтов по всей России и странам СНГ. Постоянным клиентам скидка! Под заказ! Звоните!
Продажа и поставка винтов по всей России и странам СНГ. Постоянным клиентам скидка! Под заказ! Звоните!
Винт ГОСТ 10344-80
Винты с накатанной головкой невыпадающие, класс точности В ГОСТ 10344-80.
Класс точности: B.
Поле допуска резьбы: 6g.
Класс прочности: 5,8; 8,8.
Винты ГОСТ 10344-80 (заменянет ГОСТ 10344-63)
Номинальный диаметр резьбы от 2,5 до 12 мм
Узнать стоимость товара on-line
Винты с накатанной головкой невыпадающие по ГОСТ 10344-80 – металлическое изделие, состоящее из накатанной головки, гладкого стержня и кончика с резьбой. Благодаря таким особенностям конструкции винты не выпадают, надежно фиксируя детали.
Применяются в промышленности: приборостроении, машиностроении и многих других отраслях. Также используется в производстве мебельных конструкций разного уровня сложности и потенциальной нагрузки (мебель для дома, отелей, офисов и так далее).
Винты надежно фиксируют детали, которые поддаются высоким нагрузкам. Используются в креплении несущих конструкций.
В зависимости от сферы применения отличаются материалом изготовления и внешнее покрытие.
|
Параметры винта |
Номинальный диаметр резьбы d1 |
|||||||
|---|---|---|---|---|---|---|---|---|
|
M2,5 |
М3 |
М4 |
М5 |
М6 |
М8 |
М10 |
М12 |
|
|
Диаметр стержня, d1 |
1,6 |
2 | 2,8 | 3,5 | 4 | 5,5 | 7 | 9 |
|
Диаметр головки, D |
5 |
6 | 8 | 9 | 11 |
14 |
18 |
20 |
|
Высота головки, k |
4 | 4,8 | 6,5 | 7,5 | 9 | 11 |
14 |
16 |
|
Высота подголовка, h |
0,8 | 1 | 1,6 | 1,6 | 2 | 2 | 2,5 | 3 |
|
Ширина канавки, n |
0.8 | 1 | 1.6 | 1.6 | 2 | 2.5 | 3 | 4 |
|
Радиус канавки, R1 |
0.4 | 0.5 | 0.8 | 0.8 | 1 | 1.25 | 1.5 | 2 |
|
Диаметр отверстия в головке, d2 |
- | - | 1.5 | 1.5 | 1.5 | 1,5 | 2,5 | 2,6 |
|
Радиус r1 или фаска С1, не более |
0.2 | 0.2 | 0.2 | 0.4 | 0.4 | 0.5 | 0,5 | 0.6 |
|
Длина резьбы номинальная, b |
3 | 4 | 5 | 6 | 8 | 10 |
12 |
16 |
Все параметры в таблице указаны в мм.
оставьте нам свой номер телефона и мы перезвоним через 1 минуту