Поиск по каталогу
Опросный лист
Работаем до 17:00 по МСК

Винт ГОСТ 10342-80

Класс точности: B.
Поле допуска резьбы: 6g.
Класс прочности: 5,8; 8,8.


Характеристики
Описание

Узнать стоимость товара on-line

Пожалуйста, докажите что Вы - не робот


Подробнее

 

Винт с внутренним шестигранником в цилиндрической головке, класс точности В ГОСТ 10342-80 в Кургане

 

Винты с внутренним шестигранником – один из видов специального крепежа. По сравнению с другими метизными изделиями винты под шестигранник нашли свое применение не так давно, но специалисты, особенно машиностроители, сразу же высоко оценили прочность, надежность этого винтового соединения. Шестигранник в цилиндрической головке винта для специального ключа позволяет максимально усилить крутящий момент. Немаловажно, что такой винт невозможно раскрутить без специального ключа.

У мебельных винтов с внутренним шестигранником, по сравнению с другими образцами винтов, намного выше прочность цилиндрической головки. К примеру, если у обычного винта при частом откручивании изнашивается шлиц, то этой проблемы у шестигранника практически нет.

Прочность таких винтов высокая – от 8.8 до 12.9. Для их производства применяют углеродистые и нержавеющие сорта стали.

 

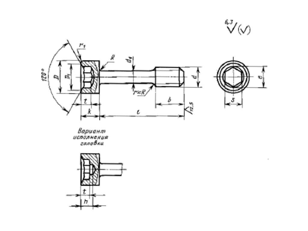
Технические характеристики винт гост 10342-80: материалы исполнения, размеры и вес

 

Параметры винта

Номинальный диаметр резьбы d1

M6

М8

М10

М12

М16

Диаметр стержня, d1

4

5,5 7 9 11

Диаметр головки, D

10

13

16

18

24

Высота головки, k

6

8

10

12 16

Размер под ключ, S

5 6 8 10 14

Диаметр фаски, D1

6.1 7.2 9.7 12 16.7

Вличина шестигранного углубления, t

3,4 4,4 5,5 6,5 8,5

Глубина сверления h, не более

3,7 4,7 6 7,2 9,2

Радиус сферы головки R1, не более

0,9 1 1,2 1,6 1,8

Радиус под головкой R, не более

0,4 0,5 0,5 0,6 0,8

Радиус r1 или фаска С1, не более

0,5 0,8 0,8 1 1

Длина резьбы номинальная, b

8 10

12

16

20

Все параметры в таблице указаны в мм.

Применение винтов под шестигранник

Главное производство, где используются винты с внутренним шестигранником в цилиндрической головке ГОСТ 10342-80, - это машиностроение. Хорошо зарекомендовал себя этот винт и в приборостроении, и в строительстве, особенно при монтаже тяжелых металлоконструкций. Применяются винты и в быту, особенно при монтаже каких-то сложных конструкций.

Высоким спросом пользуются такие винты с цинковым покрытием, потому что нередко они используются в среде с повышенной влажностью

РУАРМ поставляет винты под шестигранник из наиболее прочных металлов. Высокое качество и надежность таких винтов – гарантия безупречной эксплуатации Вашей техники и Ваших приборов. Мы готовы выполнить Ваш заказ. Позвоните нам по телефону +7(3522) 55-19-86 или оставьте заявку на сайте и закажите необходимое количество винтов с внутренним шестигранником по привлекательным ценам.

Остались вопросы? Звоните

+7 (3522) 55-19-86

оставьте нам свой номер телефона и мы перезвоним через 1 минуту