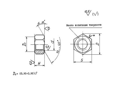
Гайка для фланцевых соединений ОСТ 26-2041-96
Продажа и поставка гаек по всей России и странам СНГ. Постоянным клиентам скидка! Под заказ! Звоните!
Продажа и поставка гаек по всей России и странам СНГ. Постоянным клиентам скидка! Под заказ! Звоните!
Гайка ОСТ 26-2041-96
Гайка ОСТ 26-2041-96 для фланцевых соединений используется для соединений трубопроводов и частей арматуры, сосудов и резервуаров, приборов, аппаратов и механизмов в нефтяной, газовой, химической и других отраслях промышленности при условном давлении до 16 МПа (160 кгc/см2 ) и температурах от минус 70 до 600 °С. Для стандартного фланцевого крепежа используется четыре гайки ОСТ 26-2041-96 или больше. При рассчитываемом давлении их можно использовать в паре и с болтами и со шпильками с соответствующей резьбой. При небольших давлениях рабочей среды используются болты и шпильки, а при большом давлении только шпильки.
Узнать стоимость товара on-line
Гайка ОСТ 26-2041-96 обычно изготавливается несколько менее прочной, чем болт или шпилька в паре с которой они будут работать ( если они изготавливаются из одной марки стали). Это делается для того, чтобы при избыточном давлении сначала повреждалась гайка, и затем только шпилька, но обычно поврежденную гайку сразу заметно, а шпильку – нет. В значительном большинстве гайки для фланцевых соединений выпускается с метрической резьбой. Ни одна сборка насосной системы не обходится без фланцевой гайки.
Пример условного обозначения:
Гайка с диаметром резьбы 42 мм, с мелким шагом резьбы Р=3 мм, с полем допуска 7Н, из стали марки 25, с покрытием 02 толщиной 12 мкм.
| Номинальный диаметр резьбы d | 10 | 12 | 16 | 20 | 24 | 27 | 30 | 36 | 42 | 48 | 52 | 56 | 60 | 64 | 68 | 76 | 80 |
| крупный | 1,5 | 1,75 | 2 | 2,5 | 3 | 3,5 | 4 | 4,5 | 5 | 5,5 | 6 | - | |||||
| мелкий | - | 3 | 4 | 6 | |||||||||||||
| Размер "под ключ" S | 17 | 19 | 24 | 30 | 36 | 41 | 46 | 55 | 65 | 75 | 80 | 85 | 90 | 95 | 100 | 110 | 115 |
| Диаметр описанной окружности D | 18,8 | 21 | 26,7 | 33 | 40,3 | 45,9 | 51,4 | 61,7 | 73,1 | 84,5 | 90,4 | 96 | 102 | 107,5 | 113,5 | 124 | 130 |
| высота H | 10 | 12 | 16 | 20 | 24 | 27 | 30 | 36 | 42 | 48 | 52 | 56 | 60 | 64 | 68 | 76 | 80 |
| Предельное смещение оси отверстия относительно граней | - | 0,4 | 0,5 | 0,6 | 0,7 | 0,8 | 0,87 | ||||||||||
оставьте нам свой номер телефона и мы перезвоним через 1 минуту